0771-5791162
首頁
公司簡介
明星產品
靜音發電機組
濰柴發電機組
珀金斯發電機組
沃爾沃發電機組
康明斯柴油發電機組
上柴發電機組
玉柴發電機組
產品展示
新聞中心
視頻展示
企業動態
中標通知書
技術支持
工程案例
案例中心
企業資質
服務跟蹤
聯系我們
網站首頁
公司簡介
明星產品
靜音發電機組
濰柴發電機組
珀金斯發電機組
沃爾沃發電機組
康明斯柴油發電機組
上柴發電機組
玉柴發電機組
產品展示
新聞中心
企業動態
中標通知書
技術支持
工程案例
案例中心
企業資質
服務跟蹤
聯系我們
Open Nav
添加微信好友了解產品
w13667715899
+ 關注
走進頂博
明星產品
產品展示
新聞中心
技術支持
工程案例
榮譽資質
服務跟蹤
靜音發電機組
濰柴發電機組
珀金斯發電機組
沃爾沃發電機組
康明斯柴油發電機組
上柴發電機組
玉柴發電機組
當前位置:
首頁
>
技術支持
頂博電力揭秘康明斯柴油發動機6步保養法-了解更多發電機組!
發動機是柴油發電機組的核心組成部分,除按時、按規程、按工藝檢修外,還必須經常檢查、精心養護、正確使用,使柴油發電機組充分發揮功率,提高經濟性,延長使用壽命。來看看以下保養柴油發動機
查看更多
2018-06-09
了解更多柴油發電機組必須先學習電子調速器工作原理
電子調速器在結構和控制原理上與機械式調速器有很大不同,它是將轉速和(或)負荷的變化以電子信號的形式傳到控制單元,與設定的電壓(電流)信號進行比較后再輸出一個電子信號給執行機構
查看更多
2018-06-08
如何進行柴油發電機組散熱器的保養,和頂博電力一起來學習吧!
柴油發電機組散熱器的保養對于柴油發電機組來說也是相當重要的。下面由頂博電力分析柴油發電機組正確的散熱器保養方法。
查看更多
2018-06-08
柴油機I號噴油泵調速器的5大工況
因為柴油機轉速的不同,調速器可能處于5種工作狀況,I號噴油泵調速器的5種工作狀況分別為:一般工況、怠速工況、冷啟動工況、最高工作轉速工況、超負荷工況。下面,頂博電力就詳細介紹這些工況不同之處。
查看更多
2018-06-07
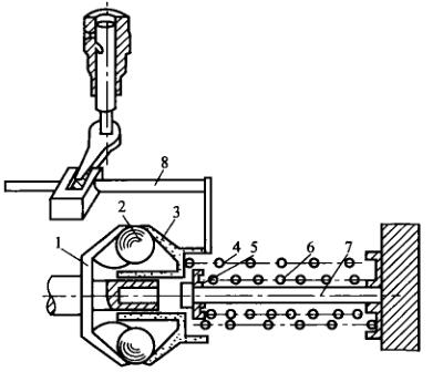
機械式調速器之一的I號噴油泵調速器的構造-廣西柴油發電機組
I號噴油泵調速器為機械全程式調速器,其構造如圖所示。I號噴油泵調速器主要由驅動件、飛球、調速彈簧、傳動部分和操縱部分等組成。
查看更多
2018-06-07
柴油發電機組燃料系統維護常識
正確地使用與維護保養好燃料系統是保證柴油機正常運轉的關鍵。柴油清潔是燃料系統使用和維護的最根本問題。
查看更多
2018-06-06
1200KW原裝進口康明斯柴油發電機組技術參數
1200KW康明斯柴油發電機組在節能和環保方面有著明顯的優勢,康明斯發動機具有功率大、可靠性好、油耗低、排放低、操作維護方便、維護保養維修成本低等特點
查看更多
2018-06-05
電動燃油泵分為波紋管式和葉輪葉片式兩種
電動燃油泵:電動燃油泵相比機械式的確有一些優勢。通電后,電動燃油泵可以獨立地運轉。接通開關后,它們就可以泵送燃油:機械式燃油泵在輸送燃油前,發動機必須發動或運轉。
查看更多
2018-06-04
柴油發電機組機械葉片式輸油泵和柱塞式輸油泵的構造和工作原理
輸油泵的功能是將油箱內的油液提高一定壓力,以克服油液通過濾清器的阻力,保持連續不斷地向噴油泵輸送具有一定壓力和流量的柴油。輸油泵的結構很多
查看更多
2018-06-04
柴油發電機組的燃料供給系統中燃油箱起什么作用?
柴油發電機,燃料供給系統,燃油箱,柴油機
查看更多
2018-06-03
發電機組的柴油機適用柴油牌號及柴油機的燃燒室類型
各種柴油機根據結構與性能要求不同,在使用說明中都明確規定了適用柴油牌號;高速柴油機一-般在夏季或環境溫度在0℃以上時,選用0號輕柴油;在冬季或環境溫度低于0℃時,選用- 10號輕柴油:
查看更多
2018-06-03
柴油發電機組兩極式調速器全程式調速器工作原理及其構造
兩極式調速器的工作原理圖。這種調速器可在兩種轉速(低速和標定轉速)下起作用。其主要特點是調速彈簧由兩根組成,外調速彈簧4較長,但其剛性較弱;
查看更多
2018-06-01
4362 條記錄 355/364 頁
上一頁
下一頁
第一頁
上5頁
351
352
353
354
355
下5頁
最后一頁
1
2
3
4
5
6
7
8
9
10
11
12
13
14
15
16
17
18
19
20
21
22
23
24
25
26
27
28
29
30
31
32
33
34
35
36
37
38
39
40
41
42
43
44
45
46
47
48
49
50
51
52
53
54
55
56
57
58
59
60
61
62
63
64
65
66
67
68
69
70
71
72
73
74
75
76
77
78
79
80
81
82
83
84
85
86
87
88
89
90
91
92
93
94
95
96
97
98
99
100
101
102
103
104
105
106
107
108
109
110
111
112
113
114
115
116
117
118
119
120
121
122
123
124
125
126
127
128
129
130
131
132
133
134
135
136
137
138
139
140
141
142
143
144
145
146
147
148
149
150
151
152
153
154
155
156
157
158
159
160
161
162
163
164
165
166
167
168
169
170
171
172
173
174
175
176
177
178
179
180
181
182
183
184
185
186
187
188
189
190
191
192
193
194
195
196
197
198
199
200
201
202
203
204
205
206
207
208
209
210
211
212
213
214
215
216
217
218
219
220
221
222
223
224
225
226
227
228
229
230
231
232
233
234
235
236
237
238
239
240
241
242
243
244
245
246
247
248
249
250
251
252
253
254
255
256
257
258
259
260
261
262
263
264
265
266
267
268
269
270
271
272
273
274
275
276
277
278
279
280
281
282
283
284
285
286
287
288
289
290
291
292
293
294
295
296
297
298
299
300
301
302
303
304
305
306
307
308
309
310
311
312
313
314
315
316
317
318
319
320
321
322
323
324
325
326
327
328
329
330
331
332
333
334
335
336
337
338
339
340
341
342
343
344
345
346
347
348
349
350
351
352
353
354
355
356
357
358
359
360
361
362
363
364
熱門產品
康明斯柴油發電機組
上柴柴油發電機組
玉柴柴油發電機組
移動拖車發電機組
靜音發電機組
無錫斯坦福發電機型號
上海斯坦福發電機型號
推薦文章
茄子视频懂你更多