老師傅來解惑,詳解直流電動機結構及工作原理!
一.直流電動機的結構:
直流電動機主要由磁極、電樞、換向器三部分組成,其結構如圖1所示。

(1)磁極。磁極是電動機中產生磁場的裝置,如圖2所示。它分成極心1和極掌2兩部分。極心上放置勵磁繞組,極掌的作用是使電動機空氣隙中磁感應強度的分布最為合適,并用來擋住勵磁繞組;磁極是用鋼片疊成的,固定在機座上;機座也是磁路的一部分。機座常用鑄鋼制成。直流電動機的磁極及磁路:1-極心 2-極掌 3-勵磁繞組 4-機座

(2)電樞。電樞是電動機中產生感應電動勢的部分。直流電動機的電樞是旋轉的,電樞鐵心呈圓柱狀,由硅鋼片疊成,表面沖有槽,槽中放有電樞繞組,如圖3所示。

(3)換向器。換向器是直流電動機的一種特殊裝置,其外形如圖4所示,主要由許多換向片組成,每兩個相鄰的換向片中間是絕緣片。在換向器的表面用彈簧壓著固定的電刷,使轉動的電樞繞組得以同外電路聯接。換向器是直流電動機的結構特征,易于識別。
二.直流電動機的工作原理
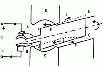
5是直流電動機的示意圖。若在A、B之間外加一個直流電壓,A接電源正極,B接負極,則線圈中有電流流過。當線圈處于圖5所示位置時,有效邊ab在N極下,cd在S極上,兩邊中的電流方向為a→b,c→d。由安培定律可知,ab邊和cd邊所受的電磁力為:F=BLI

式中,I為導線中的電流,單位為安(A)。根據左手定則知,兩個F的方向相反,如圖5所示,形成電磁轉矩,驅使線圈逆時針方向旋轉。當線圈轉過180°時,cd邊處于N極下,ab邊處于S極上。由于換向器的作用,使兩有效邊中電流的方向與原來相反,變為d→c、b→a,這就使得兩極面下的有效邊中電流的方面保持不變,因而其受力方向,電磁轉矩方向都不變。
由此可見,正是由于直流電動機采用了換向器結構,使電樞線圈中受到的電磁轉矩保持不變,在這個電磁轉矩作用下使電樞按逆時針方向旋轉。這時電動機可作為原動機帶動生產機械旋轉,即由電動機向機械負載輸出機械功率。
以上相關內容由專業的柴油發電機廠家—廣西頂博電力設備制造有限公司為大家整理分享,希望對家有幫助。頂博電力是一家擁有十余年柴油發電機組設計、供應、調試、維修一條龍服務的公司。主營產品:上柴,玉柴,康明斯,沃爾沃,帕金斯,道依茨發電機組等。功率范圍廣泛30-3000kw不等,規格型號齊全,歡迎需要選購發電機組朋友來廠參觀考察:www.yokohama-ichiba.com!
報價:13667715899
推薦文章
- 年后開工早規劃:農歷年前采購柴油發電機組,為開春生產備好“電力心臟” 2026-01-29
- 致制造業老板:關于節后“開門紅”,一個比招工更重要的準備 2026-01-29
- 重磅簽約!廣西頂博成功拿下成都15萬噸高端化工項目電力保障 2026-01-23
- 重磅!浙江化工龍頭正式與廣西頂博簽約采購800kW玉柴動力機組! 2026-01-22
- 護航重大工程!廣西頂博與新疆某建工簽訂發電機組戰略采購協議 2026-01-16
- 廣西頂博回訪南方電網多所供電所:10KW發電機表現卓越獲高度贊譽 2026-01-14
- 養殖戶的定心丸:頂博智能康明斯柴油發電機組讓養殖場永不斷電 2026-01-13
- 0秒切換!市電一斷立馬頂上,這才是養殖場該有的備用電源! 2026-01-13
- 一臺設備頂三臺用!頂博自卸式排水方艙用科技破解積水困局,成建筑行業黑科技 2026-01-12
- 手機一鍵遠程啟停、一鍵遠程監控,智能化讓發電機組操作簡單到極致 2026-01-09






桂公網安備45010702002247